产品展示 / 专业制造各种规格型号的容器设备、塔类设备及电站水处理设备
首页 > 产品展示
冷却器

目前国内的螺旋板式强油水冷却器在电炉变压器上应用较多,已取得了相当丰富的运行经验。浙江横山铁合金厂、青海西宁钢厂、浙
江开化硅铁厂、甘肃兰洲钢厂、太原钢铁公司、浙江淳安钢厂、甘肃刘家峡硅铁厂、江苏无锡第二钢铁厂、河南巩县钢厂、河南偃师电厂、戚墅堰铸钢车间、广西灵川冶炼厂、湖北鹤峰县新春工业硅厂、四川锦竹东方汽轮机铸造分厂、广西中山县金属硅厂、无锡胡埭钢厂、四川汶川县都江堰叁力铁合金厂、 四川内江变压器厂、云南砚山县阿舍宏光铁合金厂、浙江元立集团、湖北大冶市新冶特钢有限公司、云南文山麻栗坡大坪铁合金厂、 山东邹平华峰不锈钢有限公司、杭州萧山江盛铸锻有限公司、浙江元力集团河南鹤壁鑫熔铸业有限公司、广东五华联创变压器有限公司、吉林新冶设备有限公司、河南新密电力设备修造厂、 山东莱芜义和金属有限公司、浙江嵊州宝裕金属制品有限公司、浙江长城集团变压器厂、浙江中变变压器有限公司、贵州黔东南州广盛冶金有限公司、湖北黄石华源机械设备有限公司、江西新余华峰特钢、重庆鑫腾冶金炉料有限责任公司、重庆特钢厂等单位的电炉变压器都陆续采用了该产品——螺旋板式强油水冷却器。
螺旋板式强油水冷却器独特的设计制造吸收国内外同类产品的优点,技术先进,性能优良,质量可靠,是用于变压器强油水冷却器的首选产品,其各项技术指标均符合JB/T7633—94标准,其冷却器效率超达技术要求,冷却效果非常显著。 
BLS0.6型变压器用螺旋板式强油水冷却器
螺旋板式的特点结构和工作原理
螺旋板式一种新型的应用相当广泛的热交换设备,它具有传热效高阻力损失小、操作稳定可靠、结构紧凑、价格便宜等一系列优点。我国60年代三期开始研究制造并制订了相应的技术标准,在制造和使用上已积累了不少经验,目前已广泛应用在石油化工制冷、有机化工食品、染料制碱制药、机械、冶金等工业部门, 用作变压器油冷却器是国内首创已有近20年历史,效果甚佳,螺旋板强油水冷却器是由两张厚度为2~3mm,卷板卷制成两个均匀方向上各道的螺旋体。在两通道内分别有一种载热体(油和水)呈全逆流状态进行热量交换。其冷却面积为两钢板的展开长乘以钢板宽之和。为了增强钢板的刚度、提高螺旋体的临界压力,在两张钢板的同一相面上焊接有一定密度的定距柱,这样亦可增加加流体的拢动性、增大雷诺数、提高传热效率。
由于螺旋通道曲率均匀通道中流体无大的换向, 因而阻力较小且无死角。为了提高换热效果通常流体在通道中流速转大,可防止通道污垢堵塞,且通道本身有自洁作用,另外两螺旋通道中还留有排气(液)孔便于操作又可取样化验之用。
一、BLS0.6型电炉变压器用螺旋板式强油水冷却器型号说明

二、特点:
1、传热效率高
总传热系数最高达到3300Kcal/m2.h℃,传热效果优于YF(风冷)冷却器和传统的列管换热器,是列管换热器的1~3倍,从而节约了能源,且有良好的经济性。
2、热损失少
本油冷却器结构紧凑,占地面积、外露表面均少。 若常温流体从外边缘通道流至油冷却器中心,则无需保温。
3、结构可靠
油、水两通道为整板卷制、焊接密封,保证了油水热交换时不会混合,从而使变压器能安全运行。
4、自清洗功能
本油冷却器可在确保通道压力降不大的情况下,适当增大液体流速, 可以提高传热效果。液体呈螺旋形流动,具有自动清洗功能,污垢不易沉积,从而减少了停车检修,节约了维修费用。
三、技术参数
1、公称压力规定为0.6MPa(注:指单通道承受的最大工作压力,本公司试验压力为设计压力的1.25倍)
2、允许的工作温度:碳钢冷却器允许温度范围为:-5℃~+200℃,不锈钢冷却器允许温度范围,是-10℃~十300℃。碳钢冷却器允许温度升温降压范围应按有关操作规定。
3、选用设备时,应通过适当的工艺计算,选定流体的合适工作状态,使油冷却器通道内的流体达到湍流状态(一般液体流速≥Im/sec、气体流速≥10m/SeC)。
4、用户可根据不同工况选用不同材质,本手册中,符号C表示Q235A材质,符合S表示不锈钢SUS304、oCrI8Ni9、1CrI8Ni9Ti、316L等材质,由用户在订货时选定。
5、单台冷却器使用时,一般使用双油泵,一台使用另一台备用,如单台设备不能满足使用要求时,可以采用多台联合使用,但组合必须符合下列规定:
①并联组合:只限于同一规格的油冷却器:
②串联组合:冷却器的板宽和通道间距都应相同;
③混合组合:一个通道并联,另一通道串联,只限于同一规格的冷却器。
6、安装形式: 卧式和立式。为使用停车后准物料彻底排干净,通常使用立式。
7、油冷却器接管方位以产品出厂图纸为准,按管公称直径按表一选取。如用户有特殊要求,可与本公司技术部协商,在用户选定规格后,可来函索取外型尺寸参考图。
四、BLS0.6型电炉变压器用螺旋板式强油水冷却器的选用和安装
①油冷却器的选用
目前,对电炉变压器选用的油冷却器,本公司已经有系列型号(见表一)。冷却介质为水, 冷却水的最高进口温度不能超过30℃,否则将影响冷却效果。冷却水的水质应达到下列指标: 浑浊度≤50mg/L、碳钢钙100—200mg/L、硫酸钙1500~2000mg/L、铁0.1mg/L、锰0.1 mg/L、硫化氢0.5 mg/L、pH值=7、冷却水保和指标1>0(如果1<0会对不锈钢有腐蚀倾向)。敬请用户注意: 如因为水质超标而引起的后果,用户自负。
对通常的3000~12500KVA电炉变压器,可按表二选配油冷却器,其实际流量可根据变压器的使用温度高低用控制阀门加以调节。为避免渗漏最好选用质量好的阀门连接管路。
②油冷却器的安装
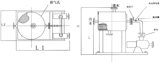
在出厂前,虽然变压器油冷却器都按企业专业标准进行严格的检验,在清理两螺旋通道后,再进行气压试验。但在现场安装试车前,仍应注意对两螺旋通道的清洗, 尤其是变压器油通道内不能有杂质和水分。然后,用变压器油对油通道进行压力试验,并检查油样的电气强度,全部指标合格后才将油冷却器与变压器本体管路联接起来。油冷却器与变压器的连接同列管式换热器类似:热油从变压器上部用油泵抽出,进入油冷却器, 然后经油箱下部流回变压器,为监控变压器油的安全循环流动,油通道进接管处安装了温度计,油进口处安装压力表和油流继电器。可根据用户要求,使温度计和压力表做到现场和控制室同步监控,用户在订货时根据需要向制造厂提出。
表一BLS0.6型电炉变压器用螺旋板式强油水冷却器的选型参考表

变压器容量 选用有冷却器型号(供参考) 油冷却器参数
热换面积m2 流量m3/h
3000 BLS0.6-15 15 39
4000 BLS0.6-20 20 39
600 BLS0.6-30 30 39
800 BLS0.6-40 40 39
12500 BLS0.6-60 60 39
1500 BLS0.6-70 70 39
表一BLS0.6型电炉变压器用螺旋板式强油水冷却器基本层次参考表
BLS0.6 换热面积m2 额定冷却功率KW 接管法兰HG5010-50(平面) H L L1 L2
B1b2 Cd
BLS0.6-10 10 100 80 80 1200 750 1200 900
BLS0.6-14.5 14.5 145 80 80 1400 800 1200 1000
BLS0.6-16 16 160 80 80 1400 800 1300 1000
BLS0.6-20 20 200 80 80 1400 800 1300 1000
BLS0.6-25 25 250 80 80 1480 800 1400 1100
BLS0.6-31.5 31.5 315 80 80 1600 950 1500 1100
BLS0.6-40 40 400 80 80 1600 950 1600 1200
BLS0.6-50 50 500 80 80 1600 950 1700 1250
BLS0.6-63 63 630 80 80 1800 1100 1750 1250
BLS0.6-80 80 800 80 80 1800 1100 1750 1300
BLS0.6-100
BLS0.6-125

单台立式外型图

BLS0.6型电炉变压器用螺旋板式强油水冷却器外型图(立式安装)

二台一组立式
1.螺旋板式强油水冷却器独特的设计、制造,吸收国内外同类产品的优点,技术先进、性能优良、质量可靠,是用于变压器强油水冷却器的首选产品,其各项技术指标均符合JB/T7633—94标准,其冷却器效率超达技术要求,冷却效果非常显著。
2.为保证变压器的安全,使用中油压必须高于水压0.05~0.1MPa,开机先开油钮,关机先关水通钮。
3.冬天如不使用,打开放气水阀把水排尽,避免冻坏设备。
表三

冷却功率(KW)材质304 重量(KG) 油存量(KG)≈
100 650 30
120 700 35
160 800 40
200 900 45
250 1000 55
315 1150 70
400 1250 80
450 1350 90
500 1500 100
630 1800 130
800 2200 160
返回产品列表
COPYRIGHT 无锡市南泉化工成套设备有限公司 ALL RIGHT
地址:无锡市滨湖区胡埭镇山水城工业园丁香东路20号 电话:0510-85952376 85952184
无锡网络公司:君通科技
苏ICP备17001886号-1